工厂直供力士乐PV7-1X / 06-10 RA01MA0可调式叶片泵
工厂直供力士乐PV7-1X / 06-10 RA01MA0可调式叶片泵
产品价格:¥6888(人民币)
  • 规格:PV7-1X / 06-10 RA01MA0
  • 发货地:东莞
  • 品牌:
  • 最小起订量:1台
  • 免费会员
    会员级别:试用会员
    认证类型:企业认证
    企业证件:通过认证

    商铺名称:东莞市巴菲特自动化设备有限公司

    联系人:曾秋文(小姐)

    联系手机:

    固定电话:

    企业邮箱:1921284910@qq.com

    联系地址:东莞市南城区宏远大厦14楼13A11号

    邮编:000000

    联系我时,请说是在口碑仪器网上看到的,谢谢!

    商品详情

        东莞市巴菲特自动化设备有限公司从2010年开始经过短短的几年时间在德国和美国各有公司,我们长期与德国力士乐工厂合作,大量现货,库存特价,期货下单即订货!

        众所周知力士乐的全系列液压泵几乎服务于制造和技术应用的每个行业,如铁路工程,化学加工厂,电力和环境工程,汽车工程,塑料加工机械,造纸工业,压力机,试验台和模拟系统,船舶/海上工程,特殊项目,土木/水利工程,运输技术和机床。叶片泵有更多尺寸可供选择。它们用于需要中等操作压力和低噪音排放的应用中。

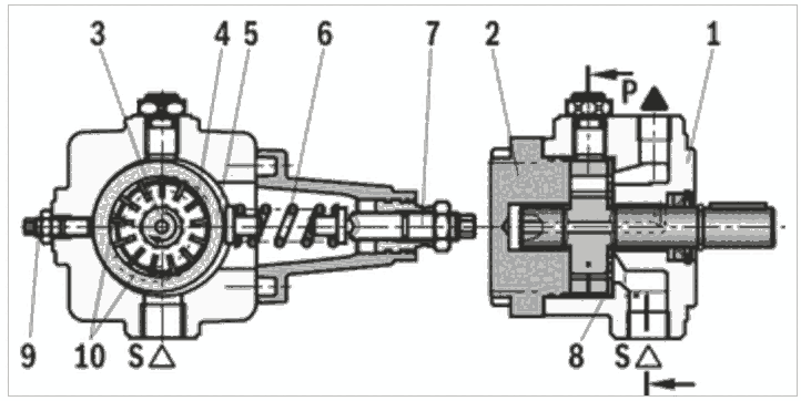
        我司供工厂直供力士乐PV7-1X / 06-10 RA01MA0可调式叶片泵是可调排量的直接操作叶片泵。它们基本上包括壳体(1),盖子(2),转子(3),叶片(4),定子环(5),压缩弹簧(6),固定螺钉(7)和控制板(8)。为了限制最大流量,泵配有固定螺钉(9)。从动转子(3)在定子环(5)内旋转。离心力将在转子(3)中引导的叶片(4)压靠在定子环(5)的内部滑动表面上。



      工厂直供力士乐PV7-1X / 06-10 RA01MA0可调式叶片泵设计特点:

      吸气和置换程序

      输送液压流体所需的单元由叶片,转子,定子,控制板和盖子形成。
      通过转子的旋转和通过抽吸通道增加电池体积,电池充满液压流体。当达到最大细胞体积时,细胞与吸入侧分离。
      如果转子进一步旋转,则建立与压力侧的连接,电池变窄并通过压力通道将液压流体移动到系统中。
      压力控制
      定子环通过弹簧保持在偏心初始位置。使用弹簧将系统所需的最大工作压力设定在固定螺钉上。
      由负载阻力建立的压力克服弹簧的力作用在定子环的内滑动表面上的压力侧。
      如果已达到对应于设定弹簧力的压力,则定子环在零位置方向上被推出其偏心距。流量稳定在刚刚移除的设定值。如果达到在弹簧处设定的峰值压力,则泵将流量控制为几乎为零。保持工作压力,仅更换泄漏。以这种方式,液压流体的动力损失和加热保持最小。

        由于其特殊的设计,具有可调排量的PV7型叶片泵具有低流量脉动,并且在下降控制期间具有非常高的重复精度和低压峰值。通过调节高度调节螺钉实现的噪音优化提供了低操作噪音。流体动力润滑的滑动轴承确保了较长的使用寿命。

      力士乐PV7型叶片泵调试注意事项:
      1.检查系统是否经过仔细和正确组装。
      2.观察指示电机和泵的旋转方向的箭头。
      3.在没有负载的情况下启动泵,并允许在零压力下泵送几秒钟,以便进行充分的润滑。
      4.在任何情况下都不要在没有液压油的情况下操作泵!
      力士乐PV7型叶片泵注意事项:
      1.泵的装配,维护和维修只能由经过授权,培训和指导的人员进行!
      2.仅使用原装的力士乐备件!
      3.泵只能使用允许的数据进行操作。
      4.只有在无条件的情况下才能操作泵。
      5.在泵的所有工作中(例如安装和拆卸),系统将被断电并减压!
      6.不允许进行任何损害安全和功能的未经授权的修改或更改!
      7.使用保护装置(例如联轴器护罩)!
      8.不得拆除现有的保护装置!
      9.必须遵守通常有效的安全和事故预防规定!

    0571-87774297