消防炮 PLY24移动泡沫-水两用炮 消防水炮PLY32
消防炮 PLY24移动泡沫-水两用炮 消防水炮PLY32
产品价格:¥3000(人民币)
  • 规格: PLY24
  • 发货地:盐城
  • 品牌:
  • 最小起订量:1台
  • 免费会员
    会员级别:试用会员
    认证类型:企业认证
    企业证件:通过认证

    商铺名称:盐城市爱瑞斯消防器材科技有限公司

    联系人:范丽娟(小姐)

    联系手机:

    固定电话:

    企业邮箱:3377352754@qq.com

    联系地址: 东台市东台镇电子商务产业园龙光西路1号

    邮编:224300

    联系我时,请说是在口碑仪器网上看到的,谢谢!

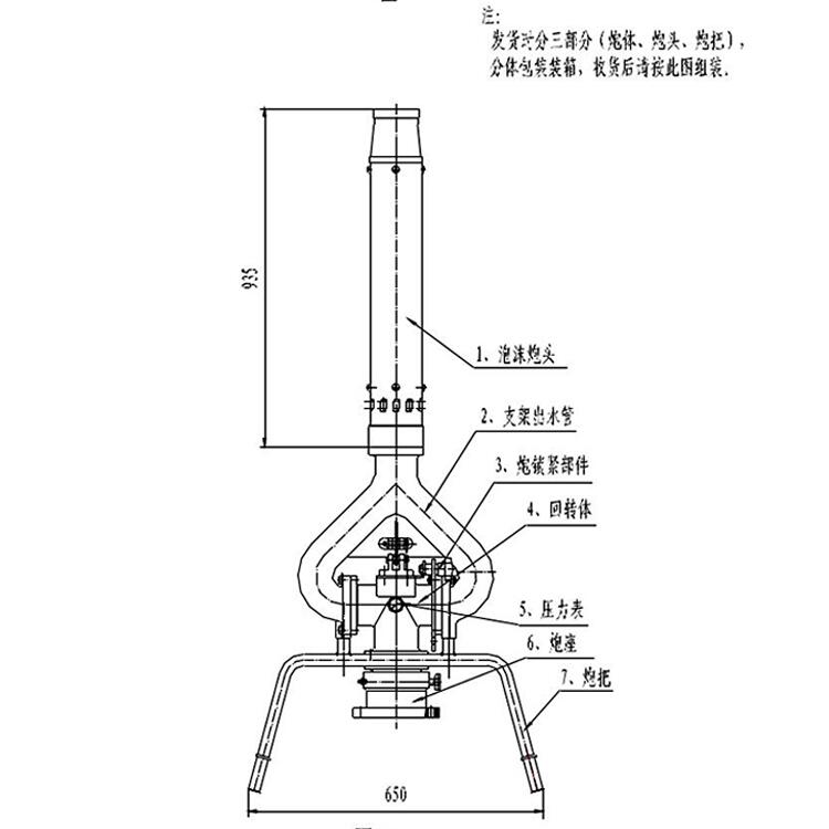
    商品详情
      主要参数:
      型号              PLY24        PLY32       PLY40
      流量L/S            24            32         40
      喷射压力                                      0.8-1.0
      射程(泡沫)          >40          >45         >50
      射程(水)          >45          >50         >55
      仰角                          <+70
      俯角                           >-30
      水平回转角                     > 90
      发泡倍数                       >6

      25%析液时间                    >2.5



    0571-87774297