电动自行车整车底盘测功系统
电动自行车整车底盘测功系统
产品价格:¥38600(人民币)
  • 规格:完善
  • 发货地:广东东莞市
  • 品牌:
  • 最小起订量:1台
  • 诚信商家
    会员级别:钻石会员
    认证类型:企业认证
    企业证件:通过认证

    商铺名称:东莞市高升电子精密科技有限公司

    联系人:张继高(先生)

    联系手机:

    固定电话:

    企业邮箱:gaoshengkeji@163.com

    联系地址:广东省东莞市大朗镇松柏朗新园一路6号2栋101室

    邮编:523770

    联系我时,请说是在口碑仪器网上看到的,谢谢!

    商品详情

      一、系统概述:

      电动自行车整车底盘测功系统完全满足国家标准GB17761-2024《电动自行车安全技术规范》 中第6.3.3.1条款“电动机额定连续输出功率”、6.3.3.2条款“电动机低速运行转矩”、6.3.3.3条款“电动机空载反电动势”、6.3.3.4条款“电动机电感值差异系数”试验要求,应用于电动自行车生产厂家及质检院所进行电动车出厂型式测试及质量抽查检验。也可以用作电动车开发数据的分析。测试项目包含电动自行车整车及电动机所有指标:前轮制动力,后轮制动力,制动性能,启动性能,车速性能,zui高车速,爬坡性能,欠压测试,过流测试,续行里程,百里功耗,电池容量,滑行距离,额定连续输出功率,低速运行转矩,空载反电动势电感值差异系数。设计人性化、操作方便。

      二、测试系统主要技术参数:

      加载扭矩:(0100N.m, 精度:0.5级。

      测试车速:(030km.h,精度:0.2级。

      电流:DC (050)A, 精度:0.5级。     

      电压:DC0100V, 精度:0.5级。

      电动车无极变速。

      制动力: 01000N,精度:1级。

      三、测试系统组成介绍:

      3.1测试系统组成由:主控柜,精密直流电源、测试平台、夹具执行机构等组成。

      3.2主控柜:该柜造型美观,操作方便,适合不同身高人的操作。柜体上安装了一块用于测量测试直流电源电压表和交流电压表,柜体两边的百合叶用于强电柜通风散热,柜底部有用于布线的开孔直径60mm各两个,方便接线。柜体中间安装两块竖隔板,用于安装电气。

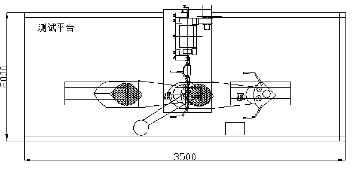
      3.3测试系统平台订做参考。

                                     

      图(1


      图(2


      四、测试系统主要功能:

      请您联系我司售前咨询技术工程师或者销售工程师。

    0571-87774297